こんにちは。練馬区大泉学園で会計事務所を運営している、税理士の上原啓輔です。
本日は、「修繕費と資本的支出の区分について」です。
所得税について書きますが、法人税も似たような考え方になります。
基本的な取り扱い
修繕費と資本的支出については、税務調査で問題になることが多いです。
修繕費が多額に計上されていると、税理士としては若干緊張します。
「資本的支出ではないのか?」と。
基本的な取り扱いは、国税庁のHPが詳しいです。
次のような支出は原則として資本的支出になります。
- 建物の避難階段の取付けなど、物理的に付け加えた部分の金額
- 用途変更のための模様替えなど、改造または改装に直接要した金額
- 機械の部分品を特に品質または性能の高いものに取り替えた場合で、その取替えの金額のうち通常の取替えの金額を超える部分の金額
https://www.nta.go.jp/taxes/shiraberu/taxanswer/shotoku/1379.htm
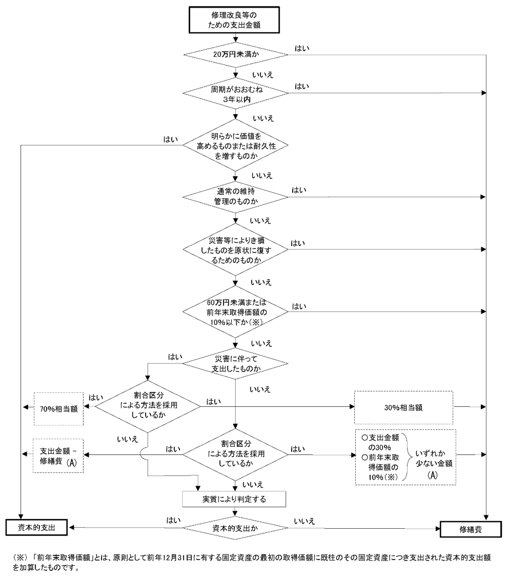
フローチャートを使って判定
実務では、先ほどのHPに載っているフローチャートを使って判定します。
それでも判断に迷う場合はありますが、かなり絞りこめるはずです。

判断に迷ったらどうするか
判断に迷った時は、再度支出の目的に立ち返って考えてみます。
機能向上が明らかであれば資本的支出、原状回復なら修繕費です。
金額が高額でも、明らかに原状回復であれば、修繕費です。
金額の多寡に影響されずに、冷静に考えます。
譲渡時の取得費との兼ね合い
資本的支出分を譲渡した場合には、未償却残高は取得費になります。
譲渡所得の経費のようなイメージです。
https://www.keisan.nta.go.jp/r6yokuaru/cat2/cat21/cat218/yogo/shutokuhikeisan.html
https://www.keisan.nta.go.jp/r6yokuaru/cat2/cat21/cat218/yogo/baikyakuhigyomuyo.html
まとめ
資本的支出と修繕費は、税務調査で論点になります。
なので会計事務所が帳簿をチェックする時には、必ず確認します。
重要な論点なので、しっかりと検討することが肝要です。
最後までお読みいただきまして、ありがとうございました。
免責事項
- 当サイト内のブログ内容については、執筆時点の各種法令に基づき記載をしているため、記載内容が必ずしも最新の情報であるとは限りません。
- 限定された条件下での記載や、一般の方にも記事を読みやすいよう一部専門的な内容を避けた記載をしています。正確性等を高めるよう努めておりますが、当サイト内のブログに記載された情報(第三者から提供された情報も含む。)をご利用頂いたことにより損害や不利益等が生じた場合でも、当ブログ管理者は一切責任を負いません。
- ご自身の税務等に関するご判断に際しては、必ず顧問税理士等へご相談の上、ご自身の責任においてご判断下さい。
サービスメニュー
- 税務顧問サービス、スポット税務相談、個人事業主の開業/会社設立のサポート、創業融資サポートなど。
- 海外取引の税金、国際税務や英語対応が可能。
- 年に一回の個人の確定申告も随時承っています。
- マネーフォワードやChatworkを使い、経理業務の効率化のご支援。
- 対応エリア:練馬区、渋谷区、豊島区、杉並区、中野区、新宿区、世田谷区を中心に、東京23区
西東京市、三鷹市、武蔵野市など、東京23区外
神奈川県、埼玉県、千葉県。
長野県(出身地のため)。
※オンラインツールを使い、全国対応も可能です。
